立志成为“中国版特斯拉”的奇点汽车,终于还是撑不下去了。
最近因拖欠员工工资、被供应商申请破产重整以及股东集体逃离等众多负面消息,奇点汽车再一次被推上了风口浪尖。
▲ 图源:沈海寅微博
事实上,奇点汽车曾经和“蔚小理”齐名,然而当三大新能源势力交付屡创纪录时,奇点汽车却率先倒下。
难以想象,这样一个曾经被大批机构纷纷看好的造车新势力,花费7年时间耗资170亿,但汽车依然还停留在“PPT阶段”。
01
奇点汽车,状况不断
一波员工集体讨要工资的消息,让这个几乎从大众视线中快要消失的奇点汽车,再一次成为人们议论的焦点。
截止到目前,已经有多位员工表示奇点汽车拖欠工资,最长达一年半时间,部分员工被拖欠工资更是达到了15万元,目前执行仲裁的员工人数已经超过150人。
▲ 图源:新浪微博
或许是担心事件进一步发酵,一直处在静默阶段的奇点汽车开始向部分被拖欠工资的员工发送短信,并表示:“原本计划2022年6月底支付拖欠工资的50%,但由于种种状况出现,可能需要等到新一轮的融资完成之后才能进行,另外50%的工资预计将会在2022年底之前偿还。”
为了补偿违背承诺的行为,奇点汽车还宣称将会在未来一周的时间内预支付1万元工资。
事实上,这早已不是奇点汽车第一次被曝光出拖欠员工工资等问题。早在2018年时就有多位员工收到了公司人事的邮件,表示工资会延缓发放。
除了拖欠员工工资之外,奇点汽车还成为了部分供应商和企业提起诉讼的对象。
就在7月初,智车优行北京分公司又新增了一条破产重组的消息,申请人正是奇点汽车的合作供应商之一。
再加上中国执行信息公开网上的显示,奇点汽车CEO沈海寅也多次收到了限制消费令。
▲ 图源:奇点汽车官方微博
状况一个接一个的出现也表明,奇点汽车确实是资金出了大问题。
或许谁也没有想到,这个成立于2014年并且曾和“蔚小理”齐名的造车新势力,竟然会以这么快的速度陨落。
02
烧光170亿,七年造不出一辆车
事实上,奇点汽车的起点并不低。
创始人沈海寅曾是360和金山办公的副总裁,在互联网行业摸爬滚打十几年。而他之所以产生造车的想法,则是受特斯拉的影响。
2014年,沈海寅成为国内为数不多首批能够体验特斯拉Model S的人之一。在开过特斯拉之后,沈海寅就确定了自己要造车的想法。
随后他从360离职,与李斌、何小鹏和李想共同开始了造车之路,并创立了“奇点汽车”。
▲ 图源:奇点汽车官方微博
尽管品牌名称确定了下来,但在当时知道这一品牌的人并不多,直到2017年奇点汽车的首款车型公之于众。2017年奇点is6被正式推到大众面前,官方宣称可以实现400公里的里程,还具备基础的自动辅助驾驶功能。
这款车在发布时期,国内市场上只有特斯拉进口车,现在处于高光时刻的“蔚小理”首款车型在当时还不见踪影。再加上20多万的售价远低于特斯拉,使得奇点is6一度成为资本追捧的“宠儿”。
借助is6的热度,创始人沈海寅开始拿着带有自己宏大蓝图的PPT到处演讲,各路明星资本也纷纷投来了橄榄枝。
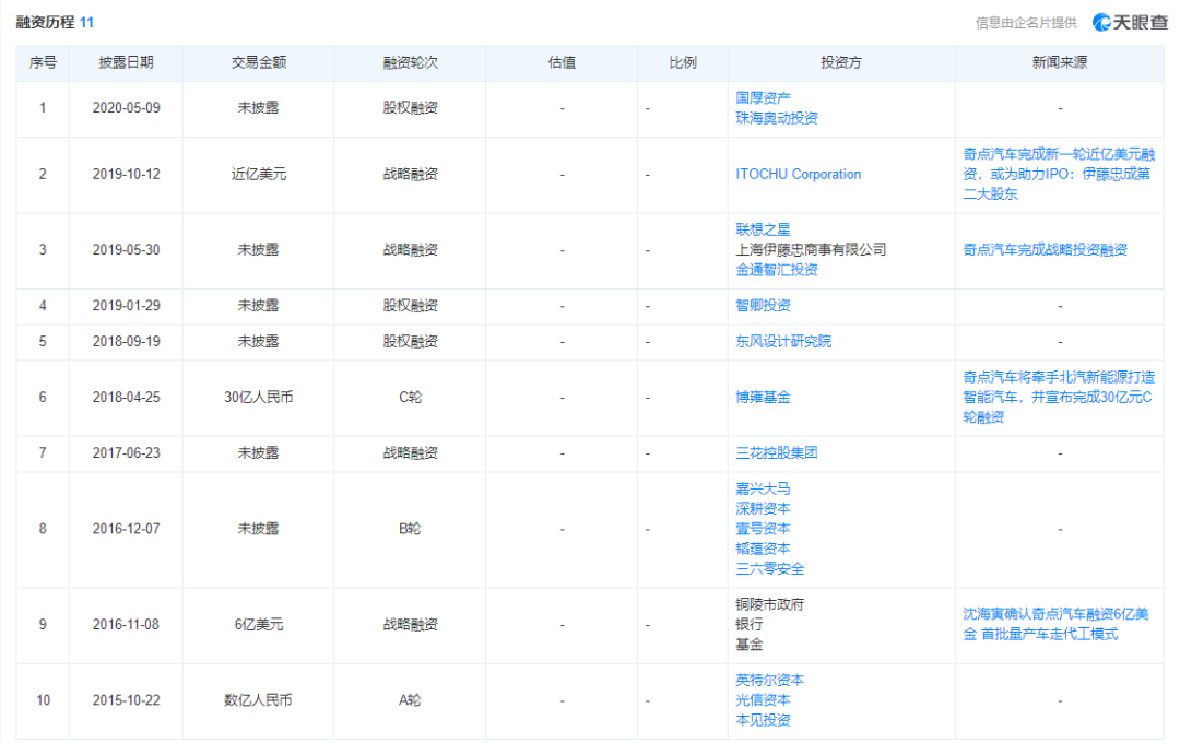
从2015到2020年间,奇点汽车一共完成了11轮融资,其中包括如360安全、英特尔资本等知名机构。据统计,截止到2019年底时,奇点汽车融资总额已经达到了170亿元。
▲ 图源:天眼查
要知道如今备受消费者追捧的小鹏汽车,到现在的融资都还没有超过当时的奇点汽车。
尴尬的是,钱花光了,车却没有成功量产出来。
原本沈海寅曾公开表示2017年is6将会小批量生产,并且在2018年年内进行量产和交付。但现实是创始人疯狂画饼,奇点汽车出现了多次“跳票”,直到现在都没有看到任何量产的迹象。
不客气的说,布局时间早、资金又不缺的奇点汽车,落到如今这般局面,只能怪自己。
03
怎么就一步步走向了破产?
在不同造车模式之间的反复横跳,是奇点汽车出现问题的直接原因。
最开始奇点汽车一直是想要自建工厂,沈海寅认为代工模式往往意味着可控性的降低,进而影响到造车进程。
于是,安徽铜陵率先做出了自己的表示,承诺只要奇点汽车在当地落户,就会给投资、给贷款等多方位的支持,随后奇点汽车在2016年宣布将会投资80亿在安徽铜陵建厂。
只是铜陵的工厂还没有正式开展,奇点汽车又在2018年宣布将会在苏州和湖南株洲分别建设工厂,最终却没有一个是正式落地投产的。
自建工厂的失败使得奇点汽车又把目标转向了代工模式,并多次有消息报道称奇点汽车旗下的is6将会由北汽新能源代工,但代工模式也不了了之。
▲ 图源:奇点汽车官方微博
生产模式的不断改变,使得奇点汽车折腾了好几年还一直停留在“起点”。
当然,除了生产模式上的不坚定之外,沈海寅还错误估算了造车所需要的资金成本及要花费的精力。
早前曾有人抛出“造车需要多少钱”这个问题,对此蔚来汽车创始人李斌给出的答案是至少需要200亿,理想汽车创始人李想则表示需要100亿,但沈海寅却认为只要20亿就足够了。
最终,现实狠狠打了自己的脸。过去几年间奇点汽车融资超过170亿,这一数字已经远远超过沈海寅曾经预估的20亿元。然而在这几年之中,奇点也并没有成功量产出一辆汽车。
事实上,当下看起来风光无限的造车赛道,真正也就“蔚小理”突出了重围,背后的竞争其实异常惨烈。
▲ 图源:理想汽车官方微博
例如在今年4月份,宝沃汽车已经被北京市第一中级人民法院受理了破产清算申请;5月份,绿驰汽车被吊销了营业执照;那个曾经立志要打造中国新能源超跑的赛麟汽车,折腾这么多年,最终也只卖出了9辆老头乐。
沈海寅曾在公开场合表示:“自己做梦的时候都在想着造车”,然而残酷的现实却只是让他成为了又一个贾跃亭。
本文系作者授权首席营销官发表,转载请联系该作者
作者来源公众号 | 财经三分钟(ID:qgq1818)
0人觉得好看
推荐文章
说点什么
