被VC疯抢的美瞳赛道,有人成本不足8元,年入百亿

被VC疯抢的美瞳赛道,有人成本不足8元,年入百亿

转载 2021-12-02 17:39
87448
新零售参考
新零售参考

今年双11购物节落幕,美瞳市场再一次交上了完美答卷。


仅仅预售一分钟,Moody的预售成交额就超过了去年全天的成交额,爆款销量均达到了10万+以上,还有如可糖等品牌在预售前一小时也都完成了对去年双11整体销量的超越。



毫不夸张的说,美瞳作为新一代年轻消费群体“颜值经济”的一部分,已经从竞争激烈的美妆赛道当中成功杀了出来。


对于当下的美瞳来说,早就不是简单的停留在隐形眼镜的功能上,而是凭借更加多样的色彩成为人们追求个性的颜值象征。


尤其是随着眼妆和美瞳之间的结合越来越紧密,美瞳在更多的用户群体当中是以一种纯粹的美妆定位出现。当下的美瞳行业,俨然已经开辟出了属于自己的蓝海市场。


而这一庞大的市场也在不断的吸引玩家进入,报告显示,美瞳消费在过去几年一直处于大幅度的增长过程当中。最近5年中国美瞳行业的年复合增长率达到了40%,去年全年美瞳品类的销售额更是超过200亿。



美瞳行业一面迎来的是繁荣的市场,而一面却是不间断的争议。


例如在行业高毛利润的背后,不同的产品差异性有多少、佩戴在眼睛上的产品是否能够做到绝对安全,这些当下消费者极为关心的问题每一个都不容忽视。


而作为美瞳行业当中的绝对头部,Moody今年预计能够实现8亿元的销售规模,线上销量稳居第一。



就是这么一片小小的美瞳却撑起了百亿巨大市场,未来具备无限想象力。


01
“颜值经济”驱动美瞳市场爆发


美瞳之所以能够成为众多资本眼中的香饽饽,主要是基于当今人们消费价值观的改变,从而催生了可观的需求。



而受到颜值经济的驱动,美瞳作为医疗器械受到追捧。背后原因在于,首先我国的近视患者基数较大,2020年近视患者突破了7亿人。


基于我国隐形眼镜的渗透率并不高这一背景,确实让众多玩家都想进来分一杯羹。


尤其在消费升级的大背景下,以“Z世代”为首的群体对于隐形眼镜的要求不仅仅只是便利,更是将精致美观放在了核心地位。而美瞳凭借着功能性和彩妆的特性,恰好满足了消费者的双重需求。



尤其在后疫情时代,口罩已经成为必需品,在这一过程当中口红的存在感逐渐变弱,人们唯一能够露出的眼睛当然想要花费更多的心思。


有公开数据显示,2021年上半年隐形眼镜的同比增速达到了60%,彩色隐形眼镜同比增速更是高达83%。


数据显示,彩色隐形眼镜已经占据整个隐形眼镜市场的60%以上,而最近三年美瞳的年复合增长率超过40%,其中主要以高生活品质的精致人群为消费主力。




02
小小的美瞳
背后蕴藏着百亿大市场

随着年轻消费群体经济逐步独立,美瞳的消费量在最近几年也在不断攀升。

数据显示,2020年国内的美瞳销售规模已经超过100亿元,根据平均一盒70元的价格来计算,当下的美瞳消费者每年大约会购买1.4亿盒。



以去年上线的Moody天猫旗舰店为例,双11当月销售额突破4000万元,上线第1年GM V轻松突破2亿元。



可糖成立不足一年,GMV也已经突破1亿元,而其中的热门款“月落星海”更是创造了一分钟被抢光10万件的销售奇迹。


有网友表示:“在几年前大家手中购买的更多的还是一些日韩品牌,那个时候的选择相对较少,也不太好看。”


就在最近几年国产美瞳就像突然之间崛起的美妆一样,一下子就占据了市场主流。


有网友更是直言:“每一次出门美瞳只是十几块钱的成本,但没有美瞳甚至会觉得自己有障碍,就像眼睛没有神一样,即便是化了妆也不太好看。”


进入到大众视野十几年以来,美瞳也绝对不仅仅局限于cosplay的专用道具。在小红书等众多平台博主的影响之下,90后消费者都学会了将不同颜色的美瞳和每天的穿搭妆容相搭配,戴美瞳变得像使用化妆品一样自然。




而对于早已经陷入到红海阶段的美妆品牌,也开始注意到了美瞳这一空间更大的生意。例如完美日记上线了美瞳专营店,未来更多的美妆品牌跨界做美瞳或许也只是时间问题。


03
10亿融资
moody稳坐美瞳市场头把交椅

在过去的很长一段时间,来自日韩欧美的美瞳都凭借着品牌优势占据着国内市场的主要份额,而最近几年随着国潮新锐品牌的爆发,美瞳赛道竞争日趋激烈。



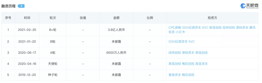
Moody在今年2月连续完成两轮3.8亿元B轮、B+轮融资;4iNLOOK在今年3月也完成1亿元B+轮融资。在头部美瞳品牌中,可糖、可啦啦等品牌也都获得了来自资本的青睐。



与此同时当下非常火热的国产美妆品牌也摩拳擦掌,今年3月份完美日记推出美瞳产品,上线了“心悦”和“动物”系列,并且在京东、天猫等平台都有旗舰店开设。



其中能够被称之为是美瞳头部品牌的,当然还是已经完成超过10亿元融资的Moody。


从2019年该品牌成立以来,天猫旗舰店的成交额同比增长超过了470倍,而这也让Moody一跃成为美瞳市场“颜值和实力”并存的品牌。



在产品方面,Moody以短抛期的美瞳为主。考虑到长期佩戴对于清洁的要求较高,如果清洁不到位就很容易影响到镜片的透氧率,从而引发各种眼部问题。


通过对这一卖点的宣传,Moody提出了佩戴周期越短就越健康的主张,主打日抛产品。


为了能够成功俘获当下年轻消费群体的内心,Moody的产品更新速度也非常之快,在去年1月份刚刚上线新款之后,紧接着就又成功上架少女白日梦系列,随后在5月份又和永璞咖啡开启跨界联名等。




不仅如此,Moody也非常注重流量平台的打造,并将微博作为营销主战场。从最近三个月的数据来看,Moody在三大社交媒体平台当中所推送的内容有八成都来自微博,其中还有两成来自小红书。


04
美瞳行业能否
跑出下一个“完美日记”?

虽然美瞳市场在不断变大,但置身其中的新锐品牌究竟能分到多少蛋糕呢?

事实上,随着我国近视低龄化和美妆普及化的趋势,美瞳新锐绝对是其中的受益者,但他们在发展过程当中所面临的局限性也显而易见。



隐形眼镜在我国属于三类医疗器械,需要有硬性规定的营业执照等三证。



据有关媒体报道,美瞳品牌事实上当下也被规定不能请代言人,在抖音等平台上的营销方式也会受到一定的限制。


这从另外一个方面也导致Moddy和某些大牌明星合作,更像是在打擦边球,代言人被冠以“探索家”的称号。产品品类的限制,让美瞳品牌的营销方式并没有那么自由,这在一定程度上可能会限制其发展速度。


而想要提高毛利率,美瞳品牌显然需要在品牌溢价上下更多的功夫。


像完美日记这些美妆品牌,通常以创新的包装和较低的价格圈了一波粉丝,但美瞳市场的同质化更加明显,这些新锐品牌很难在产品的名称和包装上做出差异化。


在包装设计上,如当下火热的Moody或可糖等品牌普遍走的是少女风,相比较传统品牌更加时髦,但和日韩品牌相比也并没有明显的风格差异。



而相比较产品外观,大多数的美瞳消费者更加关注其佩戴舒适度。在今年3月份就有人大代表指出,佩戴隐形眼镜对眼角膜有一定的感染风险,而且一旦被感染就会产生不可逆的影响,并且该代表还特别强调不建议年轻人佩戴美瞳。


事实上,美瞳的安全性问题一直都受到社会的普遍关注。但在这一核心竞争力上,美瞳的新锐品牌限制于国内产业链的不足,研发进度也极为有限。


相较而言,完美日记的高端化可以借助国外高端品牌在国内的代工厂进行发力,美妆产业链比起美瞳显然更加成熟。


如此来看,美瞳市场中想要跑出下一个“完美日记”,并没有那么容易。


本文系作者授权首席营销官发表,转载请联系该作者

作者微信公众号:新零售参考  (ID: xlsck360)

0

人喜欢

0

人收藏

0人觉得好看

爱你么么哒!

我将会为更多用户推荐此文章

声明:文章为作者独立观点,不代表首席营销官立场,转载此文章须经作者同意,并附上出处及文章链接。如果作者注明不能转载及需要授权的,请征求作者本人的同意!

累计评论 0

写评论
查看更多评论...
注册
后参与讨论
登录首席营销官

正常登录

短信快捷登录

忘记密码?
获取验证码
登 录
极速注册

第三方登录

手机注册

邮箱注册

获取验证码
获取验证码
注册