央视“3·15晚会”已过,但引发的余震还在。
被晚会曝光国际专利未被认定,“高科技”凉味剂是常见薄荷提取物,卖5万多元的听花酒也不得不开始接受“命运的审判”。
3·15晚会当晚,上交所就向听花酒母公司青海春天发出了《关于公司有关媒体报道事项的监管工作函》,敦促公司核实相关情况,以及是否涉及信息披露违法违规等。
3月16日,公司收到《中国证券监督管理委员会监督检查通知书》,天猫、京东等多个主流电商平台光速下架了听花酒相关产品,听花酒官方微信公众号也因“存在过度营销、骚扰用户行为,已被停止使用”被封禁……
▶ 图源:公众号
晚会已过去几日,但对于听花酒而言,余震尤在,青海春天表示,公司将积极配合中国证券监督管理委员会的检查工作,同时也根据上海证券交易所监管函的要求,全面展开自查整改,深入反思存在的问题。
听花酒未来的命运会飘向何处,是否又会重蹈过去极草一般的覆辙?
01
神酒听花,专治人间疑难?
听花酒售价之高昂,是国酒茅台来了都要避其锋芒的程度,标准装售价5860元,精品装售价58600元,堪称天价!
▶ 图源:听花酒官网
所以,是什么支撑了听花酒的天价?
在售人员口中,听花酒有着神乎其技的功效——男人喝了能壮阳,女人喝了能回春,不仅能够提升免疫力、改善睡眠、调节心脑血管系统,还有抗癌功效……完完全全超越普通白酒的存在,堪比人类疑难杂症的克星。
更关键的是,销售人员还言之凿凿这些功效都是有国际专利背书的,不存在什么夸大宣传虚假宣传。
▶ 图源:新闻截图
但事实的真相却是,这所谓的“国际专利”认可的“健康性”,根本没有得到国家的认定。
记者调查发现,听花酒的确提交过一份名为《酒精和凉味剂的组合物在调节性功能、保护心脑血管系统、促进肝细胞再生、抗肿瘤、提高免疫及睡眠质量上的用途》的专利申请书,但并未得到回应。
听花酒自诞生之初就把“科技”作为核心卖点,但它背后真实的技术实力却疑云密布。
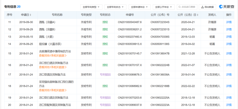
天眼查信息显示,听花酒所属公司宜宾听花酒业发展有限责任公司目前可查询的专利信息仅有20条,其中3条被驳回,17条获得授权(含一项专利转移),其中绝大多数为外观专利,“去除薄荷酒中薄荷味的方法”是为数不多的发明专利,该专利于2018年申请,2019年公布,2021年授权,也就是听花酒一直对外所鼓吹的“国际专利高科技凉味剂”。
但这凉味试剂并不是什么高科技产物,通俗点说类似于薄荷提取物,在食品工业中非常常见。
同时结合记者调查发现,听花酒业的前身就是生产凉露白酒为主的凉露酒业,凉露白酒与听花白酒在配料表上高度相似,但在定价上却存在着天壤之别,凉露的定价不过30元一瓶,连听花白酒零头的一半都没有。
02
营销奇才张雪峰,
前有极草,后有听花酒
所以,像听花酒这样一款在技术上乏善可陈,在口味上趋同于两位数火锅小酒的白酒,究竟是怎样被捧上神坛,卖出5万天价的?
这背后的操盘手就是听花酒所属母公司青海春天的董事长兼总经理张雪峰。
对商界而言,这个名字并不陌生,在听花酒以前,这位深谙炒作之道的营销奇才,曾操盘过红极一时的极草项目,靠着“冬虫夏草让活佛心爱之马起死回生”的魔幻品牌故事,把青海春天成功送上市,在巅峰时期还创造过50亿年收的神话,极草项目后因监管的趋严而被叫停并最终退出了市场。
仔细对比听花酒与极草,不难发现,张雪峰还想用“极草”的方式复制听花酒的神话。
在听花酒官网上,记录着听花酒的灵感来源——某日张雪峰来到实验室,与团队讨论方案到凌晨4点,疲惫的他靠着椅子闭目小憩。恍惚的梦境中,一位腰系金绳、白髯飘飘的老者来到面前,挥起拂尘在他手心写下一个“活”字,翩然而去。
醒来后的张雪峰脑海中开始浮现“水在舌边即为活”这句话,受这一灵感启发,张雪峰和团队开始研究口水的主要成分,创立了专有的白酒制化增益工艺,将白酒制化到温凉适中,“餐后3小时持续生津”。这才有了大众后来看到听花酒。
而张雪峰也不止一次表示,听花酒不是他们设计出来的,而是上天给饮者们的巨大恩惠,让这款白酒又多了点玄学色彩。
与此同时,为了提高产品科技化的公信力,张雪峰还请来了“伟哥之父”斐里德·穆拉德、研究模拟生物分子功能的亚利耶·瓦谢尔和研究代谢修复的阿夫拉姆·赫什科三位诺贝尔奖得主担任首席科学家,给听花酒增加“高科技”含量。
准备工作完成,青海春天便开始在优质广告渠道上疯狂砸钱,比如主流媒体、飞机头等舱、高档小区电梯内、论坛中做推广,强势植入品牌。
2023年11月9日—10日,听花酒还在新加坡召开的“2023商业与慈善国际论坛”上做了宣传。
在营销上,张雪峰有多舍得砸钱呢?数据显示,2013年至2014年,青海春天药用科技仅在广告上就支出3.55亿元和3.28亿元,均占各期主营收入16%以上。
充满玄幻色彩的品牌故事、诺贝尔奖得主的强力背书和铺天盖地的营销宣传也让听花酒在短短的三年时间里,就被社会大众所熟知。
03
不赚钱的天价酒
纵使张雪峰在营销上造诣颇丰,也难以掩盖这天价白酒不挣钱的事实。
疯狂的砸钱背后,是青海春天连续多年的亏损。财报显示,2020年—2022年,青海春天净利润却亏损3.20亿元、2.49亿元、2.88亿元。
2024年1月31日,青海春天发布2023年业绩预告。称其预计2023年度归属净利润为-2.22亿元至-2.87亿元;扣非净利润为-2.05亿元至-2.7亿元。
对此局面,青海春天解释道,造成公司亏损的主要原因之一是公司酒水快消业务板块经营的产品仍处于市场开拓、投入阶段,产品营销费用的投入未能形成相应的产品销售量提升。
财报数据显示,青海春天2020~2023年前三季度的销售费用分别为0.48亿元、0.56亿元、1.23亿元、1.27亿元,占营业总收入38.89%、43.58%、76.94%、79.26%。
销售费虽逐年增长,但放眼整个市场,真正愿意买单的少之又少。财报显示,2020年—2022年,青海春天分别实现营收1.24亿元、1.28亿元、1.6亿元。
持续的亏损也一步步将青海春天逼上了退市的边缘,已经弹尽粮绝的青海春天,还能否在此次315晚会曝光后成功翻身呢?
本文系作者授权首席营销官发表,转载请联系该作者
作者微信公众号:首席品牌观察(ID: pinpaigcbao)
1人觉得好看
推荐文章
说点什么

热门文章
更多