本文系作者授权首席营销官发表,转载请联系该作者
作者微信公众号:新零售商业评论(ID: xinlingshou1001)
作者:北海
编辑:葛伟炜
进入夏季,超30℃的炎热已经席卷国内大部分城市,“火炉”之一的武汉也是一样。一口凉爽的冰饮料,能卸去不少人的一身燥热,但对于近些年的网红汽水汉口二厂来说,已经没有被选择的机会了。
上个月,不少武汉人发现,坐落在武汉鄱阳街与黎黄陂路交叉路口的汉口二厂品牌体验店,也就是汉口二厂游乐乐乐厂已经关门闭店,内部装修一应拆除,地图上,该店铺位置也已被清除。而这里,也是这家公司的办公室。
汉口二厂品牌体验店内外景,王先生摄
曾经有多火,如今的口碑就有多糟。社交平台上,关于它倒闭的相关内容下,“割韭菜”“迟早的事”等负面评论占了多数,似乎几年前在抖音、小红书上的爆火和风靡都是虚幻。
国产老汽水是近些年的一个热门话题,以北京北冰洋、西安冰峰、天津山海关、内蒙古大窑和沈阳八王寺等为代表,是上世纪国营工厂在饮料赛道竞相跑出的知名品牌,千禧年前,又多少受困于百事可乐和可口可乐两大外来碳酸饮料巨头的冲击与“合作”,逐渐淡出市场,直到近些年重新焕发生机归来。
汉口二厂的特殊之处在于,相较北冰洋、冰峰等品牌的“重启”,它是一家成立于2017年、乘上老汽水复苏东风的全新公司,也就是所谓的“网红品牌”。过往营销的成功,在仓皇倒下的今日,反而成了背刺自己的利刃。
探讨汉口二厂,一方面,是复盘一家网红品牌如何从巅峰跌落至此,另一方面,它是新消费投融资从火热到几乎偃旗息鼓的过程中,饮品赛道的一个缩影。元气森林、好望水,及至雪糕产品钟薛高,都能从中看到今时困顿的缘由。
01
网红何以崛起
倒闭之外,伴随这家网红品牌的负面信息还有裁员、降薪等常规事态。但汉口二厂的困窘,虽然是在今年的盛夏来临之前才被外界广泛关注到,却从去年就已经开始。
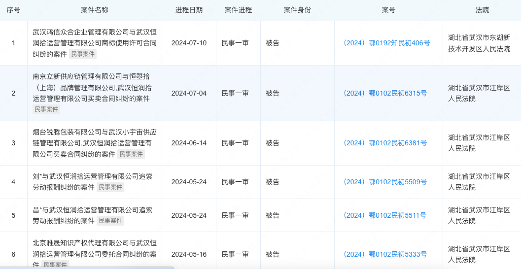
企查查信息显示,汉口二厂所属的武汉恒润拾运营管理有限公司(以下简称“武汉恒润拾”),目前共涉46桩作为被告的司法案件,其中,2023年后明显增多,集中于合作企业要求履约(多是欠账)的合同纠纷,以及公司员工讨薪的劳动争议。
图源企查查
而公司的法人代表李明,也早在2023年6月就被列为限制高消费对象,到今年4月,前后一共被7家公司/个人起诉限消,涉案总金额达73.67万元。
武汉恒润拾创始人兼CEO是武汉人金亚雯,她是一名生活方式相关的连续创业者,2014年正式创办了这家公司,进行设计品牌孵化、老建筑保护改造、非遗文化传承和文化艺术展览策展等项目(据iSEE全球奖介绍)。
2017年,在对老国营武汉饮料二厂生产的滨江牌汽水做了一次“复活”文化活动并取得成功后,她嗅到商机,随即创办了“汉口二厂”这一全新的国潮复古汽水品牌。
据公开报道,李明为汉口二厂汽水的研发负责人。
严格来说,“汉口二厂”这一名字也并非像北冰洋、冰峰等一样,是武汉本土老汽水的品牌,而是生产老汽水的厂子叫“国营武汉饮料二厂”。
不过,作为新新的网红品牌归来,汉口二厂原本追求的是原汁原味复刻原二厂汽水风味,换言之,是老汽水、新品牌,而后,在正式上市后,又根据市场需求做了减糖等更健康的配方调整。
从其创始团队过往的分享,以及社交平台上的活动中复盘,汉口二厂的走红,太受当时消费大环境影响,具体表现为,视觉冲击和话题营销等,将它的“网红属性”贯彻到底,吸引来一众投资和客群。
比如它最出圈的一款产品“樱花水蜜桃汽水”,设计成了双层贴纸,揭开配料表的表层后,用打火机加热内层贴纸,上面印刷的文字会变成“love you”的表白词。
整体上看,275ml的玻璃瓶身,小巧精致,为的是上镜拍照好看,贴画多粉嫩可爱风,除却樱花水蜜桃,盐渍凤梨、荔枝、桃花、柠檬和橙子等其他口味设计也是相似,复古清新,一度被不少店铺拿来并排陈列作为装饰。而在小红书等平台上,也是不少女性消费者的拍照打卡道具。
图源淘宝
在接受第一财经采访时,研发负责人李明还曾介绍过,团队研发一款新品往往会提前半年准备,在内部确定新产品概念和当下热点相关的元素后,视觉团队和口味研发再同时设计,为的是汽水颜色和瓶身贴纸颜色结合,以求整体视觉出彩。
营销方面,汉口二厂不断跨界,如和小米有品、鱼眼咖啡、李宁等都有合作。小红书、抖音等平台的大V推广自不必说,它还进过李佳琦等头部主播的直播间,并被papi酱、郭敬明在综艺《拜托了,冰箱》中安利。可以说,倾尽所能获得了曝光流量。
另外值得一提的是,尽管是作为老武汉印迹被创造出的品牌,汉口二厂在成立后的次年,也就是2018年,就开始进行北上广深等外地市场的上新推广,以及进入了全家便利店、华润Ole'和屈臣氏等线下渠道。
它有足够的眼界和野心,但依然走入了今天的“死局”。
02
新消费之殇
回过头看汉口二厂最火的那两年,也就是2019年和2020年,是新消费投融资最活跃的时期,阿芙精油创始人雕爷那句“每一种消费品,都值得重做一遍”,几乎传遍大街小巷。
消费升级和推陈出新的产品,也没有在疫情中熄灭,反而让各个新消费品牌,掘到了线上流量的泼天富贵。汉口二厂吃到了红利,元气森林、钟薛高、好望水们亦是。
成立于2016年的元气森林,在2018年走入公众视野,并在接下来的三年间,依靠“0糖0脂0卡”,从被可口可乐和百事可乐统治的碳酸饮料市场中杀出,把健康气泡水的概念推向全国,并带动了农夫山泉、娃哈哈一众传统饮料大厂的入局。这几年间,元气森林前后共拿下7轮融资。
好望水,代表产品望山楂,成立于2018年,从线下餐馆铺设布局,但真正出圈,是通过进入李佳琦直播间和龚琳娜魔性歌曲代言,而“气泡茶饮”这一品类,也显然是那些年新消费食品创新风潮中才迸发出的产品。
最近,因为倒闭,创始人直播卖货引发争议的钟薛高,成立于2018年,2018~2021年间,分别拿下三轮融资,其中包括真格基金、峰瑞资本的天使轮,天图资本、头头是道的Pre-A轮,以及元生资本领投的A轮。
图源钟薛高旗舰店
当然,比起钟薛高的倒闭,元气森林和好望水还不至于“惨淡”到与它相提并论,只是很难否认,相较于巅峰期的锋芒,如今它们的确不那么“网红”了。
好望水推出望山楂之后,很难再有与之知名度相媲美的新产品,而元气森林,早早在2022年被传统饮料围困、增速放缓后,就抛弃了互联网基因,开始着手进行供应链、工厂建设,以及走入线下渠道等打地基行动。
它们是幸运的,与钟薛高同命运的汉口二厂,是不幸的。
汉口二厂的销售问题在2022年就已现端倪,进入2021年,消费者心态转弯,外部消费环境从一路高歌猛进的“创新、升级”,步入了“理性、实惠”的新风向里。花超5元、近10元的价格尝鲜一瓶网红汽水,显然没有3元一瓶的传统可乐来得舒服畅快。
更重要的一点是,年轻人已经受够了所谓“国潮文化”的流行了。
这阵国潮文化的风,在2018年吹猛,让汉口二厂和钟薛高都抓到了红利,直到2020年,又助推墨茉点心局、虎头局渣打饼行一类新消费网红烘焙品牌大火,但国潮吹了太多年,设计元素愈发趋同,却能轻易卖上高价,久而久之,也让年轻人开始下头。
元气森林转身打磨的供应链、工厂基础,对于汉口二厂来说,又太“沉重”了。2019年,汉口二厂拿到亲亲食品数千万人民币融资,次年,又接连收获A轮和A+轮融资,清流资本、高瓴创投和顺为资本分别入场。但所获资金,并不足以支撑其成为一家脚踏实地的传统饮品企业。
更重要的是,当我们看向汉口二厂创始团队的背景——生活方式主理人,迎合潮流的营销,也的确是他们更擅长的方向。
在拿到融资后,汉口二厂孵化新的低度酒品牌“平行宇宙”,做“女孩子的第一瓶酒”,气泡水系列“风林火山”,是“香氛气泡水”,以及燕麦乳茶,试图通过多元产品战略走得更远,但显然,市场竞争太激烈了,层出不穷的新产品、新品牌,淹没了它的创新力。
图源平行宇宙潮饮微博
新消费品牌之殇,过程简单而残酷。
03
结 语
武汉人民、或者关注汉口二厂的消费者会注意到,在湖北,顶着“二厂”名头的老汽水,除却汉口二厂,还有“武汉二厂”品牌。后者系湖北省前首富、东星航空(已破产)创始人兰世立于2023年创立。后者横空出世时,汉口二厂一度发表声明宣布主权。
提及这点,意为在国产老汽水这个赛道中,起码在武汉,“二厂”显然是有品牌价值的,汉口二厂的没落并不意味着复古老汽水的没落,当然,武汉二厂品牌,是不是良人也有待验证。唯一能确定的是,能够长久活下去的品牌,走前些年新消费网红的路子,是注定不行了。
花钱逐渐吝啬,消费者真的不好哄了。
0人觉得好看
推荐文章
说点什么

热门文章
更多