本文系作者授权首席营销官发表,转载请联系该作者
作者微信公众号:电商参考(ID:dsck1818)
作者 | 陈泽
能把电商做到如此“人人喊打”的份上,也真是没谁了。
近日,曾因“不发货不退款”而遭到不少人吐槽、投诉的知名奢侈品电商平台:寺库,又因同样的问题被消费者集体声讨了。
有媒体爆料,一消费者去年8月在寺库买了一双某奢侈品牌的鞋子,价值3000多元,但都快一年了,商品不仅没有发货还无法申请退款。
然而有意思的是,这边消费者拿不到货退不了钱,那边寺库却还在搞着各种促销活动,618年中大促也没落下。
一时间,寺库又被推到了风口浪尖。
7月3日,这位花3000多买鞋子但迟迟未收到货的消费者还向媒体描述称,自己下单前平台内显示是有货的,但是过了几个月仍没有发货,便申请了退款,但每次申请平台都显示在处理中,直至今日事件都没有得到一个合理的回应。
而遇到这种事的还不止他一人,更有消费者花费上万元也是既没拿到货还退不了钱。
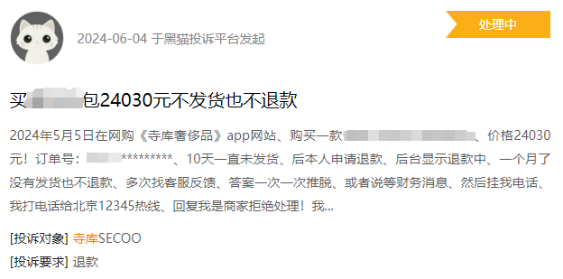
6月4日,就有一位消费者投诉称,自己于5月5日在寺库购买了一款价值24030元的某奢侈品牌包包,10天一直未发货,便申请退款,虽然后台显示退款中,但一个月了没有发货也不退款,多次找客服,客服也是一次次推脱。
图源:黑猫投诉截图
有人等退款等了两个月,有人等了近一年,更过分的是有人等了两三年问题都还没解决。
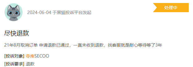
一消费者称自己2021年8月取消订单,申请退款通过但一直未收到退款,找客服结果就是耐心等待了三年。
图源:黑猫投诉截图
其实在网络上搜索一下就可以发现,社交媒体上,关于寺库“不发货不退款”的吐槽还真不少,相关报道也会不时出现在各大媒体上。
特别是在“黑猫投诉”平台上,关于寺库的投诉就多达23000多条,而且一溜烟的都是关于“不发货不退款”的投诉。
图源:黑猫投诉截图
值得一提的是,北京市消费者协会此前就曾两次点名过寺库。
一次是在2021年,北京消费者协会发文称,寺库公司在销售商品时涉嫌存在未标降价期限、虚假“活动价”、虚标划线价等三方面不正当价格行为,被北京市西城区市场监督管理局依法处以行政处罚超25万元。
另一次是2022年11月,北京市消费者协会发文称,2022年1月至10月底,北京市消费者协会96315热线登记涉及北京寺库商贸有限公司投诉3343件;主要问题是消费者购买服装、箱包、首饰、化妆品等,商家拖延发货且拖延退款,且有关部门就寺库公司涉嫌违法违规及损害消费者权益行为进行了立案调查。
图源:北京消协文章截图
尽管“不发货不退款”的投诉是一条接着一条,但这对寺库的影响似乎并不大,其不但参与了618大促活动,还在近期推出了名为“707周年庆”的活动。
对此,有网友犀利点评:“买前是大爷,买后成孙子,寺库真是玩转了买家与卖家的角色。”
图源:网络
公开资料显示,北京寺库商贸有限公司成立于2009年,注册资本1000万人民币,法定代表人为李日学,主要业务为奢侈品网上销售、奢侈品鉴定等。
图源:天眼查截图
该品牌在成立后,受到诸多资本的青睐,先后完成了5论融资,最终于2017年在纳斯达克正式挂牌交易,号称“中国奢侈品第一股”。
2017年11月,寺库上市后的第一次季度财报公布,三季度财报十分惊艳,增速超过阿里、京东,在奢侈品电商领域全速领跑。
不过好景不长,2020年寺库被供应商曝出大面积拖欠货款,股价也一路暴跌。
2021年12月,寺库曾公告称,由于连续30个工作日股票收盘价低于1美元,公司收到了纳斯达克的退市警告;2023年11月,寺库再度收到纳斯达克退市通知。
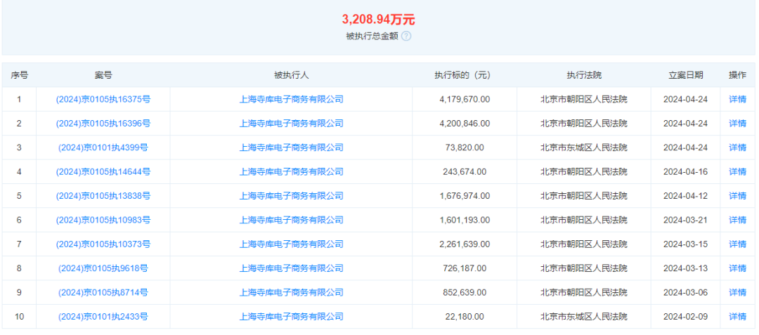
另外,天眼查显示,寺库近年来涉诉案件超过上百条,累计被执行金额高达3000多万元,公司法定代表人李日学还被列为了“老赖”。
图源:天眼查
在2022年时就有多家媒体报道称北京寺库商贸有限公司被申请破产清算。但寺库当时回应称,“我司发现部分媒体发布‘寺库集团被申请破产’的相关新闻。经核实,不存在以上情况,公司将保留追责的权利。”
据了解,申请人柴某曾向北京一中院申请寺库破产清算,但随后,申请人又撤回了对北京寺库商贸有限公司的破产清算申请。
从“中国奢侈品第一股”到两次收到退市警告,负面消息不断,寺库的发展历程还真是令人唏嘘。
其实寺库的没落是多重因素影响下而导致的结果,有其自身因素,也有外部大环境等因素影响。
首先,寺库依旧卡在供应链短板上。奢侈品电商的核心在于打造供应链,如今全球的奢侈品品牌基本都是国外的品牌,随着奢侈品牌对渠道控制权的加强,一些第三方奢侈品电商平台货源的稳定性自然会受到冲击。
而且比起像寺库这样的“中间商”,消费者也会更愿意去相信品牌,同时也能在购买的同时享受到来自品牌方的服务。
其次,寺库的转型收效甚微。在寺库发展的历史上经历了多次的转型,但每次的转型都没有明显的改变。其中一次是寺库有意淡化“奢侈品电商”的概念,向精品生活方式平台转型,还布局了寺库生活、寺库艺术等领域,但这样多元化的策略并不成功,还因此使平台定位逐渐变得不那么清晰。
同时,淘宝、京东等电商巨头发力奢侈品领域使得寺库腹背受敌。疫情让许多产业拥抱线上,奢侈品品牌也不例外。受疫情影响,一众奢侈品品牌转战线上,但众多奢侈品牌更看中的是电商平台的流量和质量,像寺库这样的电商平台和京东、淘宝比自然不具备优势,面对巨头的挤压,寺库竞争压力变得更大。
最后,就是奢侈品行业共同的痛点,假货问题。近年来,消费者在电商平台上购买奢侈品的是真是假一直存在质疑,加上电商奢侈品行业评估鉴定标准不统一、市场监管需完善,消费者更倾向于在品牌门店购买。
总之,不管是在奢侈品领域还是在其他领域,电商行业的竞争都足够激烈,一步没跟上可能永远都跟不上了。
0人觉得好看
推荐文章
说点什么
