本文系作者授权首席营销官发表,转载请联系该作者
作者微信公众号:电商最前线
作者丨钱游
字节一直是一个“闷声发财”的巨头,和张一鸣一样,不喜欢出现在公众视野。
但奈何树欲静,而风不止。
最近几天,字节跳动“芯片团队遭注销”的消息迅速发酵,成为业内关注的焦点。
然而,真相往往比传言更复杂。
9月3日,一则消息在行业内炸开了锅:字节跳动的芯片团队被“整体注销”,业务剥离出集团主体,将在新加坡公司旗下运作,而且员工没有获得N+1赔偿。
多位所谓知情人士补充称,此次调整不仅涉及AI芯片,还涵盖整个芯片团队;其动作看似切割,但实质是换一个壳公司延续运作。
员工的合同主体不会改变,期权依然在字节体系下,不存在裁员,更没有赔偿。
对此,字节很快出面辟谣。
字节相关负责人回应称:
“这是谣言。芯片业务的主体一直没有变化,这次只是切换飞书租户。”
所谓的“注销”“剥离”“N+1”,都是外界过度解读。
在电商最前线看来,在AI赛道愈发激烈的当下,围绕大厂芯片动向的风吹草动,都会迅速被放大。
毕竟,芯片是AI算力的底层,关乎企业能否在激烈竞争中站稳脚跟。
事实上,在招聘平台和社媒平台上,依然可以看到字节在北京、上海、西安、杭州、深圳等地大规模招聘芯片工程师。
图源:小红书
招聘方向涵盖AI芯片、CPU以及DPU,显示出公司对全栈算力布局的野心。
据悉,字节的AI芯片重点落在推理端,用于提升大模型应用的效率和性价比。
而在更高层次上,字节正加快推动自研芯片与大模型结合,以减少对英伟达昂贵GPU的依赖。
此前《路透社》报道,字节就订购了超过20万颗英伟达H20芯片,订单金额超过20亿美元。
然而,字节跳动相关负责人表示,目前并未提出购买申请,有关报道不准确。
图源:法国国际广播
另外有消息报道,是字节将与台积电合作,在2026年前实现两款自研芯片的量产。
业内人士透露,这两款芯片分别用于模型训练与推理,如果顺利落地,将让字节在AI产业链上的自主性更强。
放眼整个行业,中国互联网大厂的造芯决心从未减弱。
而芯片不是谁都能造的,要知道,一台造芯片的光刻机售价就要8亿人民币,其价格不亚于一台波音737。
图源:微博
所以从投入上来说,能做芯片的,只能是大厂的事情。
据汇丰银行研报披露,字节规划了三款自研芯片:两款AI ASIC由博通代工,代号Gen1与Gen2,工艺节点分别是5nm与3nm,预计在2026年与2027年发布。
另一款由联发科代工,定位为3nm工艺的APU。
这意味着,字节不仅在推理端有所布局,更开始涉足高性能训练芯片。
值得注意的是,2025年字节在AI计算资源上的预算高达1000亿元。
这不仅仅是砸钱买GPU,更是从底层芯片、算力调度到上层应用全面投入。旗下“豆包”系列模型已在国内处于领先梯队,背后正是算力与芯片战略的支撑。
虽然官方多次低调回应称“还在探索初期”,但种种迹象表明,字节并非浅尝辄止,而是以长期主义的态度深耕。
如果说字节的造芯故事还带着些许“遮遮掩掩”,那么阿里的动作则更加高调。
8月29日,《华尔街日报》援引知情人士消息称:“阿里巴巴已经开发出一款比旧款功能更全面的新芯片。”
图源:华尔街日报
据透露,这款芯片专为人工智能推理任务而生,并且与英伟达生态兼容。
目前已进入测试阶段,极有可能由国内代工厂负责生产。
消息一出,阿里股价应声大涨,市值一夜间飙升3400亿元。资本市场的热烈反应,证明了芯片对科技企业的重要性。
与此同时,蚂蚁集团也在持续加码。
8月26日,其旗下子公司上海云玡企业管理咨询有限公司入股昕原半导体,持股比例1.87%。
图源:企查查
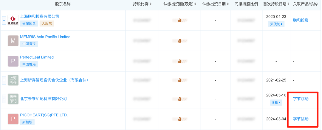
据悉,昕原半导体的股东阵容都是重量级玩家。
企查查显示,上海联和投资以16.59%的持股比例位居第一大股东,其后依次为 MEMRIS Asia Pacific Limited(16.55%)、PerfectLeaf Limited(8.53%)、上海昕存管理咨询合伙企业(有限合伙)(8.25%)、北京未来印记科技有限公司(6.84%)以及 PICOHEART(SG)PTE.LTD.(6.33%)。
图源:企查查
其中,PICOHEART(SG)PTE.LTD.为字节跳动旗下公司,于2024年入股,现为第六大股东。
这意味着昕原半导体已同时获得蚂蚁集团和字节跳动两大互联网巨头的资本加持,进一步凸显其在芯片产业链中的战略价值
蚂蚁投资部负责人此前直言,在评估前沿科技项目时,最看重的是技术的前瞻性与稀缺性。
现在来看,大厂投资芯片,是保障算力不被“卡脖子”的必然追求。
马云的逻辑很清楚:没有自研芯片,就没有真正的自主创新。
推动中国大厂下场造芯的,还有一个无法忽视的外部因素,那就是美国的持续打压。
不是我们要孤立全球,还是美国想要孤立我们。
过去十年,中国AI公司高度依赖英伟达GPU。无论是大模型的训练,还是推理服务的落地,几乎离不开英伟达的硬件生态。
图源:微博
然而,美国接连出台出口管制,H100、A100等顶级GPU被列入禁售清单。
为了不失去中国市场,英伟达推出了“特供版”H20。
但在算力和带宽上,它被有意降级。
对中国企业而言,这意味着“随时可能被掐脖子”。依赖进口,就意味着命门掌握在别人手里。
于是,阿里、字节、腾讯、华为等巨头不得不加速自研芯片。
哪怕短期成本高、效率低,也要掌握最底层的自主可控能力。因为这不仅关系到某一家公司的竞争力,更关乎整个产业链的独立性与安全感。
但我们也可以说,美国的限制反而成了中国自研芯片的催化剂。
什么被卡脖子,我们就造什么。
与其被动接受降级版芯片,不如主动在关键环节布子,哪怕早期不如对手,也能通过迭代逐渐追赶。
芯片之战,已不仅是商业竞争,而是一场关乎国家战略与产业未来的博弈。
写在最后,
纵观字节和阿里的造芯之路,可以看到两个共同点:
其一,这不是短期行为,而是长期战略。
其二,这不是单纯为了节省成本,而是为了掌握话语权。
AI时代,算力就是石油,芯片就是阀门。谁能掌握芯片,谁就能在未来的科技浪潮中占据主动权。
从外部来看,美国的紧逼让中国企业意识到危机;从内部来看,大厂的野心让芯片成为新的投资风口。
字节、阿里们的自研计划,或许还处在初期,但方向已极为明确:不再依赖、必须自控。
因此,当下围绕芯片的所有传闻与动荡,本质上都是中国科技企业自我觉醒的一个缩影。
造芯之路注定艰难,但这是绕不过去的必由之路。
0人觉得好看
推荐文章
说点什么
