本文系作者授权首席营销官发表,转载请联系该作者
作者微信公众号:李东阳朋友圈
作者丨李东阳
封面 I 豆包AI
品牌改名,一向是不少企业家痴迷的逆天改命玄学招数,但整容不动骨的策略很可能陷入既陪夫人又折兵的困境。
先问各位脑海里有哪些好记又朗朗上口的品牌名?
可口可乐是绕不过去的里程碑,但在国内,我认为娃哈哈同样有异曲同工之妙,发音轻快又有童趣,上到九十九下到刚会走看一眼都能记住。
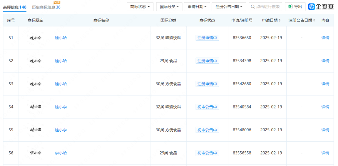
但最近,据财新报道,宗馥莉执掌下的娃哈哈正在尝试换标、关停工厂、渠道等。这个9月,一份娃哈哈《关于开展2026销售年度经销商沟通工作的通知》(以上简称通知)流出,通知显示,为维护“娃哈哈”品牌使用的合规性,娃哈哈集团决定从2026年新的销售年度起,更换使用新品牌“娃小宗”。
图源:微博@新浪财经
以当下的朴素视角来看,宗馥莉这波改名似乎有些冒进,毕竟娃哈哈积累了一代又一代人的情怀和信任,从零开始很容易把自己变成杂牌。
但从现实因素考量,宗馥莉改名,也是无奈之举。
目光聚焦在娃哈哈接班人宗馥莉的身上,她不是个高调做事的人,但争产案以及接班后的雷霆手段将其推上了风口浪尖。
本次的改名称得上是娃哈哈近期最引入瞩目的一件事,消费者不明白其葫芦里到底卖的药。
流传的通知显示,7家由宗馥莉实际控制的“宏胜系”企业,打算从2026销售年度开始,用新品牌“娃小宗”代替原来的“娃哈哈”商标。
不过娃哈哈到目前为止并没有明确回应,但一切都有迹可循。
今年2月以来,宏胜饮料集团有限公司申请注册多枚“娃小宗”、“娃小哈”、“宗小哈”商标,像极了排列组合试探游戏。
所以本次换标事件,貌似是早就提上日程的一步棋。
首先需要明确,为何在这个市场激烈竞争,娃哈哈争产案仍在持续的当下祭出这一招?
毕竟娃哈哈的曙光实在耀眼,其知名度在中国是家喻户晓级别的。
娃哈哈本身的股权问题极其特殊,由杭州上城区国资(46%)、宗馥莉(29.4%)、职工持股会(24.6%)构成,这意味着商标使用需要全体股东一致同意,而且国资股东还握有一票否决权。
这事有前车之鉴,之前宗馥莉曾尝试将387件“娃小宗”商标转移到其个人控股的公司,还试图以1亿元收购商标,但均以失败告终。
在这个充分竞争的饮品大环境下,宗馥莉显然不想被绑住手脚。
“娃小宗”则由宗馥莉实控的宏胜饮料集团100%持有,启用该新品牌,或许是她为绕过法律障碍,实现对品牌的绝对掌控,进而推进自身战略重构的重要举措。
今年5月,娃哈哈还宣布推出以娃小宗命名的无糖茶饮料,被誉为是宗馥莉品牌年轻化的关键举措。
图源:娃哈哈
而且过去很长一段时间,宗馥莉一直在回购股权、注销一些旁系公司,看似是给娃哈哈瘦身。
今年3月,西安市经开区官微发文称,娃哈哈集团签订项目入区协议,娃哈哈集团将投资10亿元,建设西安饮品生产基地。
结合本次改名传闻,市场分析,宗馥莉重返西北,是为了“宏胜系”深度推进西北市场资源整合。
如若宗馥莉真的执行换标,这将是一场豪赌未来的战役。
据GYBrand 2024 年数据,娃哈哈品牌价值达911亿元,毕竟其承载着几代人的情感记忆,突然更名可能导致消费者混淆或抵触。
尤其在三四线城市及乡镇市场,品牌忠诚度更高,新名称接受度更低。有消费者直言“没有娃哈哈的童年是不完整的”,甚至质疑“娃小宗像山寨版”。
部分经销商同样表示一脸懵,并不知晓娃哈哈的具体操作,但根据经验判断,如果执行换标,短期内势必会对销售状况有所影响。
宗馥莉此前已精简经销商至 8000 家并提高销售任务,导致部分经销商净利润下滑,更名与渠道调整同步推进,可能加剧经销商流失,某区域市场已有三分之一经销商处于崩溃边缘。
而且新品牌需从零建立认知,参考加多宝与王老吉之争,重塑品牌可能需要 3-5 年持续投入。
目前推出的娃小宗无糖茶并未展示出较强的竞争力,回本能否收回推广成本还是个未知数。
短期投入涉及更换包装、广告宣传、商标注册、新品推广,长期则面临盈利压力,新品牌培育周期长,而农夫山泉、怡宝等竞品持续挤压市场,目前娃哈哈 2025 年上半年增速回落,若 “娃小宗” 无法在 3-5 年内实现盈利,可能拖累整体业绩。
更重要的一点是,产品力必须支撑起换标野心,年轻人消费者虽对新品牌相对开放,但娃小宗能否通过产品力建立口碑仍是未知数。
如此前宗馥莉推出的 KellyOne 品牌因产品力不足沦为员工福利,成为经销商的前车之鉴。
所以说,娃哈哈更名是一场“以品牌价值换控制权”的豪赌,若无法在法律、渠道、产品层面同步破局,可能导致市场份额流失、品牌价值缩水,甚至成为家族企业传承危机的典型案例。
但宗馥莉是抱着不留退路的野心来的,在娃哈哈业绩承压多项关键数据下滑的颓势下,必须拿出不破不立的决心。
2024年,娃哈哈打破连续9年的500亿元困局,重回700亿元规模,外界质疑它今年能否撑住这个业绩。
宗馥莉接受采访时表示,去年父亲离世让社会对娃哈哈前所未有地关注,这是一个客观事实;今年的表现可能不及去年,但是更看重长期成长。
企业经营的一切正义性,都必须回到业绩中予以检验。
以宗馥莉的老对手为例,据中华网报道,2024 年娃哈哈营收约为 700 亿元,农夫山泉营收约为 428.96 亿元,娃哈哈中国饮料龙头的地位依旧稳固。
但农夫山泉增速逐年拉快,娃哈哈则增长缓慢,二者差距在不断缩小,而且根据《2024 环球首发・胡润中国食品行业百强榜》,农夫山泉企业总价值为3100亿,排名第3,娃哈哈企业总价值为480亿,排名第30。
宗馥莉不止一次表露过对农夫山泉的赞赏,但与农夫山泉的正面竞争,是其绕不开的难题。
从市场份额竞争来看,在无糖茶等细分市场,农夫山泉占据了领先地位。东方树叶在无糖茶市场份额稳居第一,宗馥莉推出的无糖茶新品需要在激烈的市场竞争中争夺份额,面临着巨大的挑战。
此外,农夫山泉在包装饮用水、功能饮料等多个品类也表现强劲,娃哈哈在各个领域都需要与农夫山泉展开竞争。
如果按照以往的经营节奏,处处受制于人会导致宗馥莉的节奏变得缓慢,而农夫山泉则是完全自主,一快一慢之间就会错失主动权。
这或许是宗馥莉敢于豪赌品牌重塑的决心,年轻化需要彻头彻尾的变革。
但这条路没有捷径可走,产品得真能解决用户需求,比如在无糖茶、儿童饮品等赛道做出差异化;渠道得稳住经销商信心,避免老渠道流失、新渠道断层;而信任的积累,更是要经得起市场一次又一次的检验。
毕竟娃哈哈的国民记忆太深刻,娃小宗要想真正站稳脚跟,唯有把“产品、渠道、时间”这三件事做透,才能从山寨质疑里走出来,成为能接住期待的新品牌。
0人觉得好看
推荐文章
说点什么
